Mow Is Me
Winter is coming to an end and the grass will start growing again soon, which means the our plucky little ride-on mower needs to come out of hibernation for another summer of hard work.
We had some issues with her snapping a belt last summer, which I duly fixed. However, on the last mow of the year, back in September, the poor girl shit the bed completely and all steering failed.
I managed to limp her to the barn and decided to leave her there until spring. Well, now is the time to do the repairs, so I limped her round to the garage this afternoon and started to get her naked:

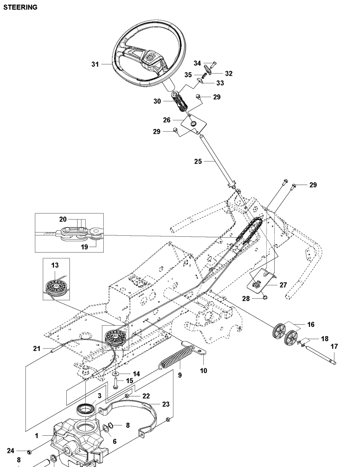
Having a look at the steering diagram, there are two opposing cables that go around a sprocket attached the steering rack, which in turn bolt to the back end to pull the mower in one direction or the other. Surprisingly simple, but effective:

I had a quick look at the steering rack last year and noticed the little chain had slipped off, also the adjusting bolts on the cables were at their maximum point; the cables and/or chain were clearly stretched, so I bought replacements for both. The sprocket looked worn too, and a new one was cheap, so decided to replace that as well.
This meant that I had a lot of parts to replace on the mower, pretty much the entire steering system to be fair. And so the strip-down continued:

More problems
Once I had taken the old rack out and managed to have a proper look at what was going on, I realised there was another broken part at the bottom of the steering rack.

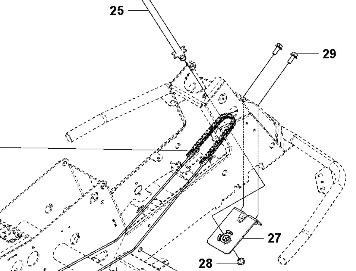
Part 27 on the diagram above is the broken part. You see, it's not just a bracket, it also had a little bearing in the middle that the rack goes through and pivots inside of.
The weld holding that bearing to the bracket had failed, and the bottom end of the steering rack had collapsed. This meant that the sprocket, chain and cables were way lower than they should have been and were rubbing on the problematic bracket. Which explains the excessive wear.
So I'm glad I've managed to work out what happened to the steering rack on our little mower. Luckily a replacement bracket was cheap and I already have one on order. So hopefully next weekend our little mower will be ready for another year of hard work.
Final thoughts
With the snapped belts, and now the bust steering rack, I can't help but think that our 2.5 acres of undulated terrain is too much for our mower. Looking back at our first year at the smallholding, I think an upgrade to a small tractor might be the next big purchase we make.
I don't want to rush into it though, so for now, let's see how our humble husky does this year...
Subscribe for more!
You don't have to keep coming back here to read my latest waffle. There's a couple of way to subscribe to receive updates whenever I publish new content.